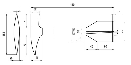
- Dùng trong lĩnh vực dầu khí, hóa học, Gas, hóa chất …
- Không phát hỏa, phi từ tính
- Sản phẩm đạt chứng nhận của FM Approvals của Mỹ và UKAS của Anh Quốc
- Hợp kim đồng
- Sản phẩm đạt tiêu chuẩn JIS của Nhật

Liên hệ
Mã Hàng: 731505A016
NSX: HAMACO
Tình Trạng: Có sẵn

| Nhà Sản Xuất |
HAMACO |
|---|
Đánh Giá
Chưa có đánh giá nào.